小型可能な固体酸化物型燃料電池
発電効率を落とさず高い電力密度を可能にする積層技術
概要
燃料電池は、環境調和型エネルギーとして注目され、様々な形式が研究・開発されている。エネルギー効率の観点から固体酸化物型燃料電池が注目されている。
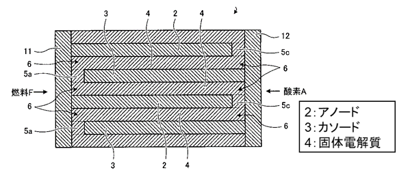
複数セルの固体酸化物形燃料電池は、燃料及び空気を同じ方向からそれぞれのセルのアノード及びカソードに分けて供給するため、燃料供給装置及び空気供給装置がそれぞれ必要になる。さらに、固体酸化物形燃料電池は、固体電解質をアノードとカソードとで挟んだ構造であるため、接近したアノード及びカソードにそれぞれ別個に燃料と空気とを供給するためには、燃料及び空気の供給系統が複雑になり、小型化が困難であるという課題があった。
本発明は、電極層の構造を工夫したものである。燃料及び空気の出入りをそれぞれ分離することで、スムースな流れを実現し、発電効率の向上が期待できる。

アノードとカソードの積層構造

応用例
・燃料電池車
・家庭用コージェネレーションシステム
・携帯機器用小型電源
関連文献
[1] T. Kon, A. Kamegawa, H. Takamura, "Preparation of cathode material for co-sintering with electrolyte at high temperature", ECS Transactions, 57 (2013) 1901-1908.
[2] D. Baek, A. Kamegawa, H. Takamura, "Preparation and electrode properties of composite cathodes based on Bi1−xSrxFeO3−δ with Perovskite-type structure", Solid State Ionics, 262 (2014) 691-695.
知的財産データ
知財関連番号 : 特許第5435385号他2件
発明者 : 髙村 仁
技術キーワード: 環境、エネルギー
