酸性ガス分離装置および分離方法
イオン液体を利用し、混合ガスから酸性ガスの分離効率を高める
概要
酸性ガスを分離回収する技術は、メタンの製造や閉鎖状態にある住環境の維持などに必要であり、温暖化ガス排出量削減の観点からも盛んに研究されている。
従来、アミン化合物やアルカリ金属塩を含む水溶液を二酸化炭素の化学吸収液として用いる化学吸収法が知られている。しかし、二酸化炭素の吸収速度が低く、効率的に二酸化炭素を分離できていないという課題がある。
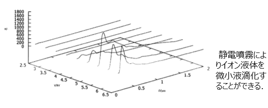
本発明は、イオン液体を吸収溶媒とし、酸性ガスを含有する混合ガスにイオン液体静電噴霧することで酸性ガスの分離回収を実現する。イオン液体の微小液滴により、イオン液体と酸性ガスとの接触面積(比表面積)が増大し、酸性ガスがイオン液体に効率よく化学吸収される結果、高効率に混合ガスから酸性ガスを分離することが可能となった。

二酸化炭素吸収速度の経時変化

応用例
・火力発電所、製鉄所
・宇宙空間や海中などの密閉された住空間
・微量なガス量の制御装置
関連文献
[1] H. Takana, K. Yamamoto, T. Makino and M. Kanakubo, Improvement of CO2 Absorption by Ionic Liquid Electrospray, Europhysics Letters, Vol. 131, 34002, 2020
[2] H. Takana, N. Hara, T. Makino and M. Kanakubo, Effect of environmental temperature on CO2 selective absorption characteristics by ionic liquid electrospray in flow system, Journal of Electrostatics, Vol. 114, 103634 ,2021
知的財産データ
知財関連番号 : 特許第7143999号
発明者 : 高奈 秀匡、山本 和輝、原 望
技術キーワード: CO2削減、CO2吸着、CO2吸収、分離回収、イオン液体
