超高密度(10Tbit/inch2)の情報記録装置
読み込み/書き込み共にGbps級、1nsの加熱時間を前提とすれば、ほぼ無限回(~1010) の読み出しができる可能性有り!
概要
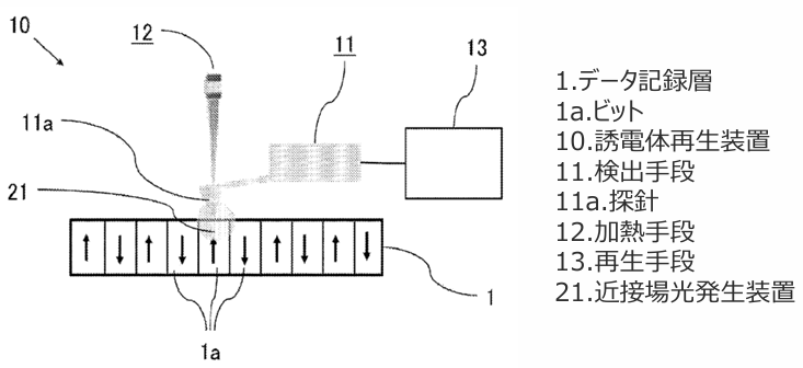
従来、高密度大容量でランダムアクセスが可能な情報記録再生装置として、磁気記録媒体を用いたハードディスクドライブが広く利用されている。ハードディスクドライブはさらなる大容量化のために、記録密度の向上が求められているが、磁気媒体の熱擾乱により記録情報が乱されてしまうという問題がある。そこで、磁気記録よりも高密度化が期待できるものとして、誘電体材料を用いた誘電体記録再生装置が提案されている。しかし、記録されたデータの再生速度がMbpsオーダーであり、実用化のためには再生速度の向上が必要であるという課題がある。
本発明によって、再生速度を向上することができる誘電体再生装置および誘電体記録再生装置を提供することが可能になった。本発明は、誘電体材料から成るデータ記録層に形成された各ビットの分極状態を検出する時、加熱手段により検出するビットの温度を上げることができることを特徴とする。これにより、各ビットの非線形誘電率が大きくなるため、再生信号とノイズのSN比が大きい再生信号を検出することができ、データの再生速度を向上することができる。

性能比較

応用例
①クラウド・データセンター
②天文・ゲノム・気候モデル等科学ビッグデータ
③医療
④自動運転・IoTなど向けの超大容量のデータを扱う超大規模記憶装置
関連文献
[1] Heat-assisted ferroelectric reading for high-speed ferroelectric probe data storage,September 2025,127(10), DOI: 10.1063/5.0284899,Yasuo Cho,Kohei Yamasue
知的財産データ
知財関連番号 : WO2023/189452(US&JP 特許取得済, CN 特許出願中)
発明者 : 長 康雄
技術キーワード: 記録装置、記録デバイス、誘電体再生装置、誘電体再生デバイス、誘電体記録再生装置、誘電体記録再生デバイス
