東北大学技術
整理番号:T21-133
通信システム、信号処理装置、信号処理プログラム及び通信方法
バックスキャッタ信号を処理し、サイドローブを抑圧
概要
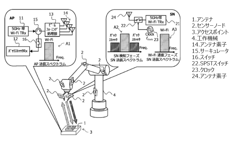
Internet of Things (IoT)社会では、あらゆるモノをインターネット等のネットワークに接続することになる。工場を例に考えると、工作機械の基部に設置された複数のアンテナ素子を備えるアクセスポイントにより、比較的高速に移動する工作機械のアーム先に取り付けられた物体のセンサーノードをトラッキングすることができる。センサーノードの位置を捉える方法として、アクセスポイントで発信した信号のバックスキャッタ波を用いる方法が知られている。しかし、バックスキャッタの変調周波数信号の近傍に、サイドローブが発生するという課題がある。
本発明によって、復調信号スペクトラムに表れるバックスキャッタの変調周波数信号の近傍に発生するサイドローブを抑圧させることが可能になった。本発明のアクセスポイントは、受信した変調信号と送信信号とを乗算して、変調信号を復調することを特徴とする。これによって、復調信号スペクトラムのバックスキャッタの変調周波数近傍に発生するサイドローブを抑圧させることができる。

デジタル信号に変換したバックスキャッタ信号を出力し、信号処理を実施

応用例
・通信機能を有さない人工物との通信・センシング
・無線IoT通信
知的財産データ
知財関連番号 : 特開2023-067231
発明者 : 芝 隆司、末松 憲治
技術キーワード: エレクトロニクス、情報・通信(ハード)、情報・通信(ソフト)
