東北大学技術
整理番号:T21-112_T21-284_T20-030
高機能・高性能な機構やロボット技術
回転、スプロケット、並行出力、吸着、自己修復機構に関する技術を提供
高剛性で回転3自由度の球状歯車機構
高剛性や部品点数を削減しながら回転3自由度を実現する球状歯車機構。
(知財関連番号:特願2021-145050、整理番号:T21-112)

自己修復するロボット
即応性を考慮した自己修復するロボット技術。
(知財関連番号:特開2020-090978、整理番号: T20-030)

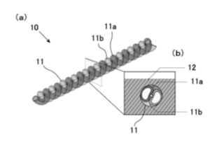
キャタピラ等のたるみを調整するスプロケット
キャタピラ等の履帯のたるみを調整し解決するスプロケット。
(知財関連番号:特願2022-031799、整理番号:T21-284)

知的財産データ
知財関連番号 : 上記各技術参照
発明者 : 多田隈 建二郎 ら
技術キーワード: Rotary、linear
